Skip to content
My Bookshelf
Machine Trades Print Reading, 5th Edition
Page
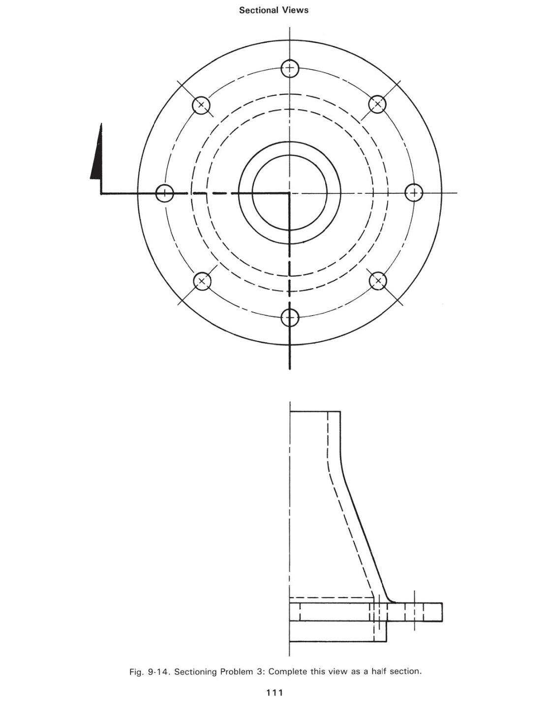
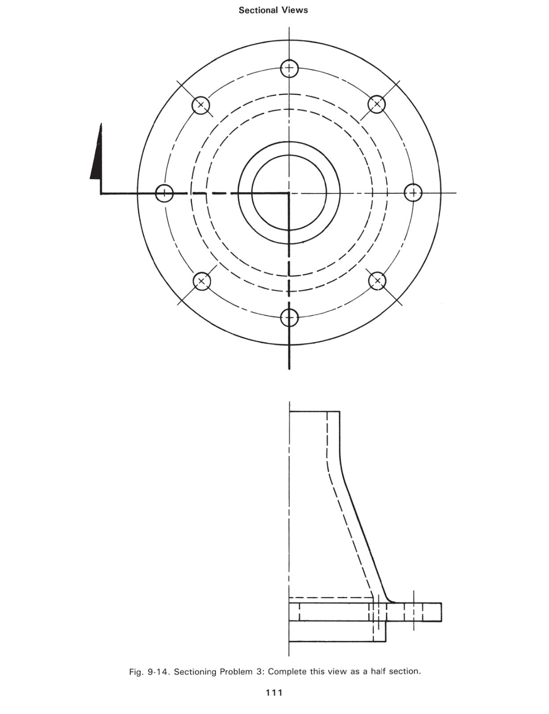
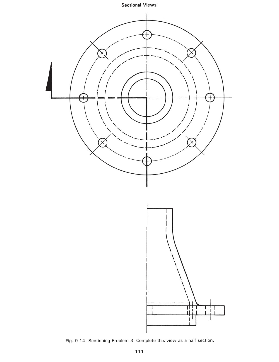
111
(
111
of
240
)
GO
Previous Page
Next Page
Resources and Downloads
Help
Close
This book
Author, Example
All books
GO
Zoom In
Zoom Out
Contents
Resources
Extract
Help
Printable
Destination page number
Search scope
Search Text