Skip to content
My Bookshelf
Welding Print Reading, 7th Edition
Page
72
(
90
of
408
)
GO
72
Welding
Print
Reading
Copyright
Goodheart-Willcox
Co.,
Inc.
May
not
be
reproduced
or
posted
to
a
publicly
accessible
website.
Part
VIII
(continued)
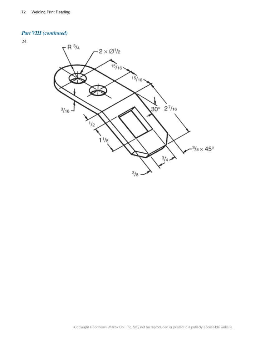
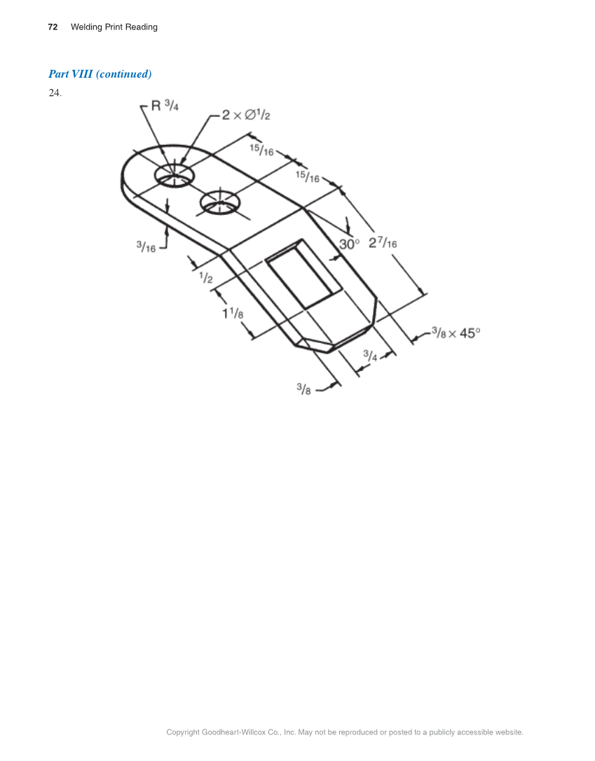
24.
Previous Page
Next Page
Help
Close
This book
Author, Example
Welding Print Reading, 7th Edition, Online Instructor Resource Suite
Welding Print Reading, 7th Edition, Online Learning Suite
Welding
All books
GO
Zoom In
Zoom Out
Contents
Extract
Help
Printable
Destination page number
Search scope
Search Text